The oil consumption of combustion engines is influenced to a great extent by the fact that oil can reach the combustion chamber between the valve guide and valve stem. The result of this is the formation of soot in the combustion chamber, on the valve head, on the valve seat, and on the piston surface. This can lead to disturbed engine operation.
By the use of Kaco valve stem seals, the oil passage can be reduced to a residue quantity necessary for the lubrication of the valve stem. In addition, the seal prevents the entrance of air to the combustion room through the shaft of the inlet valve and prevents the emission of exhaust gases at the stem of the outlet valve.
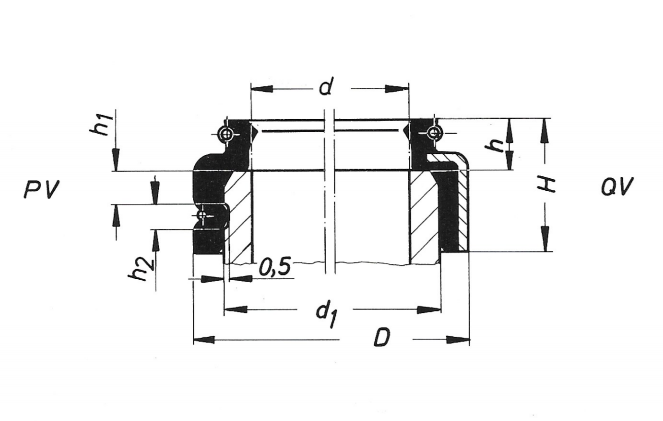
Figures 60 and 61 show two seal versions which are often used. Differences between the two can be found mainly in the type of attachment on the valve guide. Figure 60 shows a valve stem seal, PVN version, of elastic material, which is placed onto the valve guide and held in position by a circlip. A groove can be produced in the guide for better fixing. The QVN version shown in figure 61, however, is pressed onto the valve guide. A secure fit is guaranteed by the fact that the elastic material is pressed between the metal jacket and the guide. QVN type seals are especially suitable for installation in places with an extremely small distance between the internal diameter of the valve spring and the external diameter of the valve guide.
With the valve completely opened and including all tolerances, the distance in the longitudinal direction between the seal and the upper spring collar should amount to at least 1 mm.

| Item number | d | D | H | d1 | h | h1 | h2 |
| PVS7 • 12NF 1 | 7 | 12 | 7,5 | 9,5 | 2 | 1,4 | 2 |
| QVN7 • 13,3 AMF 01 | 7 | 13,3 | 9,8 | 9,8 | 3,6 | ||
| PVN8 • 15,5AF 01 | 8 | 15,5 | 9,5 | 12 | 3,2 | 3,2 | 2 |
| PVN8 • 16,5NF 01 | 8 | 16,5 | 11,9 | 13 | 3,5 | 4 | 2 |
| PVS8 • 17,2NF 01 | 8 | 17,2 | 15,8 | 14 | 4,3 | 8,5 | 2 |
| PVN9 • 16,5NF 01 | 9 | 16,5 | 14,5 | 13 | 5,8 | 4 | 2 |
| PVN9 • 17NF 01 | 9 | 17 | 12 | 13 | 3,8 | 4,7 | 2 |
| PVN9 • 17NF 01 | 9 | 17 | 12,2 | 13 | 4,2 | 4,5 | 2 |
| PVN9 • 18NF 01 | 9 | 18 | 13,7 | 14 | 5,7 | 4,5 | 2 |
| PVN9 • 18NF 02 | 9 | 18 | 13,7 | 14 | 5,7 | 4,5 | 2 |
| PVN9 • 19NF 01 | 9 | 19 | 12,7 | 15 | 4 | 5 | 2 |
| QVN9 • 19NMF 01 | 9 | 19 | 14 | 15 | 6 | ||
| PVN10 • 18NF 01 | 10 | 18 | 13,7 | 14 | 5,7 | 4,5 | 2 |
| PVS10 • 18NF 03 | 10 | 18 | 13 | 14 | 5 | 4,5 | 2 |
| QVN10 • 19 NMF 01 | 10 | 19 | 14 | 15 | 6 | ||
| PVN11 • 20AF 01 | 11 | 20 | 15 | 16 | 5,8 | 5 | 2 |
| PVN12 • 20NF 01 | 12 | 20 | 13,3 | 16 | 5,3 | 4 | 2 |
| QVN12 • 20NMF 01 | 12 | 20 | 15 | 16 | 7 | ||
| QVN12 • 20AMF 01 | 12 | 20 | 14,5 | 16 | 6,5 | ||
| QVN12 • 20NMF 02 | 12 | 20 | 14,5 | 16 | 6,5 |





Beoordelingen
Er zijn nog geen beoordelingen.